Толстолистовой прокат с изменяющимися механическими свойства по толщине»
Аннотация
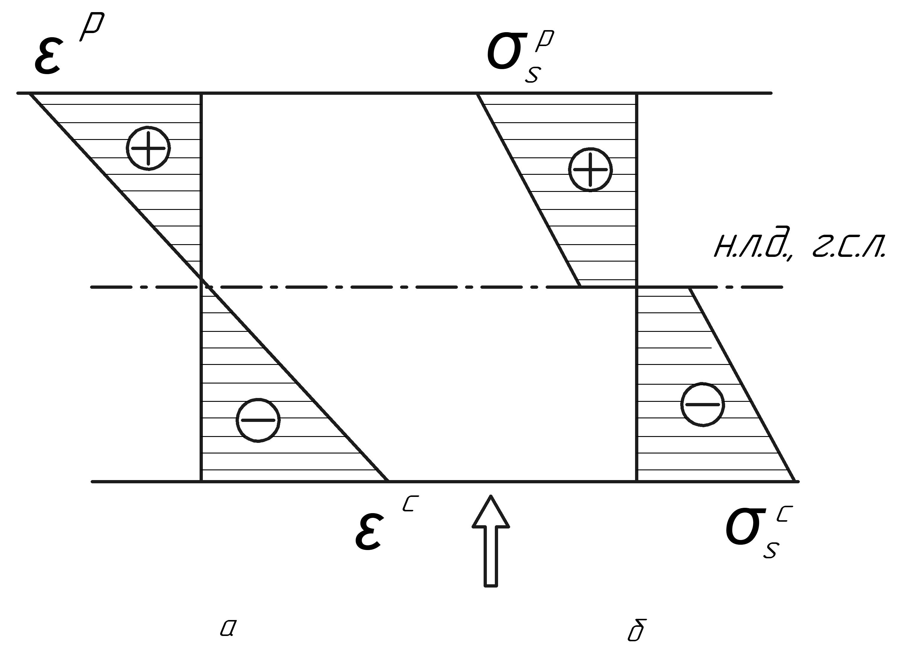
Исследовано влияние одностороннего ускоренного охлаждения толстолистовой судостроительной стали А32 толщиной 10 м на структуру и механические свойства. Вследствии такого охлаждения по толщине заготовки формируется непрерывный спектр микроструктур от феррито-бейнитной на ускоренно охлажденной поверхности до феррито-перлитной на противоположной. Поэтому по толщине заготовки прочностные свойства уменьшаются от ускоренно охлажденной поверхности к противоположной. Таким образом, градиент прочностных характеристик (твердости, предела текучести и временного сопротивления разрыву) по толщине заготовки направлен к ускоренно охлажденной поверхности. Для сравнительного анализа другие партии заготовок подвергали нормализации и закалке с высоким отпуском. Анализ механических свойств показал, что прочностные и пластические свойства образцов при одностороннем ускоренном охлаждении находятся на уровне термоупрочненного состояния. При испытании на ударный изгиб образцов с изменяющимся распределением механических свойств по толщине показано, что работа удара зависит от соотношения направлений градиента прочностных свойств и приложения нагрузки. Показано, что при испытании на ударный изгиб при температуре 40оС в случае если направление приложения нагрузки противоположно градиенту прочностных свойств работа удара составляла более 300 Дж (образец не разрушился). При совпадении направлений градиента сопротивления деформации и приложения нагрузки работа удара составляла 262 Дж. Таким образом, если направление градиента сопротивления деформации совпадает с направлением действия внешней приложенной нагрузки, то это приводит к повышению пластичности стали. Показано, что, зная распределение прочностных характеристик по толщине образца (предела текучести, временного сопротивления разрыву) можно рассчитать интегральные значения предела текучести и временного сопротивления разрыва образца. Величина относительного удлинения по толщине увеличивается от ускоренно охлажденной поверхности к противоположной. Интегральное относительное удлинение образца не больше наименьшего значения относительного удлинения по толщине. При изменяющейся прочности по толщине заготовки неизбежно смещение нейтральной линии деформации относительно геометрически средней линии в направлении градиента прочностных свойств. Положение нейтральной линии деформации при изгибе предлагается определить по значению экспериментального интегрального предела текучести (временного сопротивления разрыву).
Ключевые слова
Об авторах
Александр Борисович МаксимовРоссия
доцент
Игорь Петрович Шевченко
Россия
Главный метролог
Ирина Сергеевна Ерохина
Россия
Преподаватель
Список литературы
1. Максимов А.Б. Термически армированный толстолистовой прокат из низколегированных сталей/ Вопросы материаловедения. 2010. № 3 (63). С. 40 – 44.
2. Максимов А.Б., Ерохина И.С. Термическое армирование листового проката/ Сталь. 2017. №8. С. 52-55
3. Максимов А.Б. Распространение трещин в трубах из неоднородного материала / Известия вузов. Черная металлургия. 2013. № 7. С. 53 – 56.
4. Максимов А.Б. Особенности разрушения неоднородного материала / Новые материалы и технологии в металлургии и машиностроении. 2012. № 2. С. 130 -131.
5. Максимов А.Б. Разрушение термически армированной стали / Известия вузов. Черная металлургия. 2014. № 5 – С. 12 – 14.
6. Максимов А. Б., Гуляев М. В. Поверхностное упрочнение сталей для изделий шахтного оборудования / Актуальные проблемы в машиностроении. 2015. № 2. С. 370 – 375.
7. Гольдштейн М. И., Грачев С. В., Векслер Ю. Г. Специальные стали.-Москва: Изд. Металлургия, 1985. -408 с.
8. Феодосьев В.И. Сопротивление материалов / В.И.Феодосьев: учебник для вузов.- Москва.: Изд. МГТУ. 2000. -592 с.
9. Кроха В. А. Кривые упрочнения металлов при холодной деформации. - Москва.: Изд. Машиностроение. 1968. -131 с.
10. Марковец М. П. О зависимости между твердостью и другими механическими свойствами металлов / Исследования в области измерения твердости. Труды метрологических институтов СССР Москва. – Ленинград.: Изд. Стандартов. 1967. Вып. 91 (151). 76 с.
11. Марковец М. П. Определение механических свойств металла по твердости. – Москва: Изд. Машиностроение, 1970. – 191 с.
12. Чукин М. В., Палецков П. П., Гущина М. С., Бережная Г. А. Определение механических свойств высокопрочностных и сверхпрочностных сталей по твердости/ Производства проката. 2016. №12. С. 37 – 42.
13. Фридман А. В. Механические свойства металлов. Часть 1. Деформация и разрушение. Москва: Изд. Машиностроение, 1972. – 472 с.
14. Потапова Ю.В., Ярцев В.П. Теория пластичности и ползучести при сложном напряженном состоянии. Москва: Изд. Машиностроение -1. 2005.- 244с.
15. Калпин Ю. Г. Сопротивление деформации и пластичность металлов при обработке давлением / Ю. Г. Калпин, В. И.Перфилов, П. А. Петров, В. А. Рябов, Ю. К. Филиппов. – Москва: Изд. Машиностроение. 2011. - 244 с.
16. Потапова Л. Б. Механика материалов при сложном напряженном состоянии. Как прогнозируют предельные напряжения. – Москва: Изд. Машиностроение.№1. 2005. – 244 с.
17. Финкель В. М. Физические основы торможения разрушения. Москва: Изд. Металлургия. 1977. -60 с.
18. Демидов А. В. Способы изготовления холоднотянутой проволоки с повышенной пластичностью путем дополнительных радиальных деформаций/ Литье и металлургия. 2006. № 4 (40). С. 40 – 43.
19. Фихтенгольц Г. М. Курс дифференциального и интегрального исчисления. Т. 2.Спб. Изд.: Лань. 2018 – 612 с.
20. Великоцкий Р. Е., Лащинина С. В. Влияние химического состава на механические свойства стали 10ХСНД / Вестник Кузбасского государственного технического университета. 2004. № 4, С. 90 – 93.
21. Васильев Г. Г., Елагина Т. В. О целесообразности учета величины отношение предела текучести к временному сопротивление при выборе труб для строительства в сложных условиях / Трубопроводный транспорт. Теория и практика. 2013, № 5 (39). С. 34 – 38.
Дополнительные файлы
|
1. Библиография на англ. яз. к статье Максимова.docx | |
| Тема | ||
| Тип | Исследовательские инструменты | |
Скачать
(16KB)
|
Метаданные ▾ | |
|
2. Библиография на русск яз. к статье Максимова.docx | |
| Тема | ||
| Тип | Исследовательские инструменты | |
Скачать
(16KB)
|
Метаданные ▾ | |
|
|
3. К статье Максимова Рис 3.jpg | |
| Тема | ||
| Тип | Исследовательские инструменты | |
Посмотреть
(433KB)
|
Метаданные ▾ | |
|
|
4. К статье Максимова 4.jpg | |
| Тема | ||
| Тип | Исследовательские инструменты | |
Посмотреть
(23KB)
|
Метаданные ▾ | |
|
5. К статье Максимова Рекомендация.pdf | |
| Тема | ||
| Тип | Исследовательские инструменты | |
Скачать
(50KB)
|
Метаданные ▾ | |
|
|
6. К статье Максимова Рис.1.jpg | |
| Тема | ||
| Тип | Исследовательские инструменты | |
Посмотреть
(30KB)
|
Метаданные ▾ | |
|
|
7. К статье Максимова Рис.2..jpg | |
| Тема | ||
| Тип | Исследовательские инструменты | |
Посмотреть
(350KB)
|
Метаданные ▾ | |
|
8. Лицензионный договор к статье Максимова.pdf | |
| Тема | ||
| Тип | Исследовательские инструменты | |
Скачать
(736KB)
|
Метаданные ▾ | |
|
|
9. Письмо в редакцию.jpg | |
| Тема | ||
| Тип | Исследовательские инструменты | |
Посмотреть
(1MB)
|
Метаданные ▾ | |
|
10. Подписи к рисункам на русс. яз. к статье Максимова.docx | |
| Тема | ||
| Тип | Исследовательские инструменты | |
Скачать
(19KB)
|
Метаданные ▾ | |
|
11. Подписи на англ. яз. к рисункам статьи Максимова.docx | |
| Тема | ||
| Тип | Исследовательские инструменты | |
Скачать
(14KB)
|
Метаданные ▾ | |
|
12. Сведения об авторах к статье Максимова А.Б (3).doc | |
| Тема | ||
| Тип | Исследовательские инструменты | |
Скачать
(38KB)
|
Метаданные ▾ | |
|
13. Таблица.docx | |
| Тема | ||
| Тип | Исследовательские инструменты | |
Скачать
(18KB)
|
Метаданные ▾ | |
|
14. Транслитерация библиографического списка к статье Максимова.docx | |
| Тема | ||
| Тип | Исследовательские инструменты | |
Скачать
(16KB)
|
Метаданные ▾ | |
|
15. Реферат на англ. яз. к статье максимова.docx | |
| Тема | ||
| Тип | Исследовательские инструменты | |
Скачать
(14KB)
|
Метаданные ▾ | |
|
16. Реферат на русск. яз к статье Максимова. | |
| Тема | ||
| Тип | Исследовательские инструменты | |
Скачать
(15KB)
|
Метаданные ▾ | |
|
17. Статья для слепого рецензирования | |
| Тема | ||
| Тип | Исследовательские инструменты | |
Скачать
(335KB)
|
Метаданные ▾ | |
|
18. Договор о передаче авторского права к статье Максимова А.Б..pdf | |
| Тема | ||
| Тип | Исследовательские инструменты | |
Скачать
(7MB)
|
Метаданные ▾ | |
|
19. Библиографический список на англ. яз . к статье Максимова | |
| Тема | ||
| Тип | Прочее | |
Скачать
(16KB)
|
Метаданные ▾ | |
Рецензия
Для цитирования:
Максимов А.Б., Шевченко И.П., Ерохина И.С. Толстолистовой прокат с изменяющимися механическими свойства по толщине». Известия высших учебных заведений. Черная Металлургия. 2019;62(8).
JATS XML

























